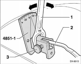
Der anstellwinkel muss geprüft beziehungsweise eingestellt werden, wenn die wischerblätter rubbeln oder geräusche machen. Erforderliches spezialwerkzeug: hazet 4851-1.
Prüfen

Achtung: das werkzeug 4851-1 muss mit 3 punkten an der scheibe aufliegen.

Einstellen
Achtung: wischerarme aus kunststoff lassen sich auf diese weise nicht einstellen.
Ein-/ausschaltung
(funktion city)
Zum ein-/ausschalten der funktion drücken sie die taste
unter den bedienelementen auf dem armaturenbrett.
Die einschaltung der funktion wird angezeigt durch:
Die schrift city auf der instrumententafel (für versionen
mit multifunktionsdisplay);
&nbs ...
Abschleppen des fahrzeugs
Der mit dem fahrzeug mitgelieferte abschleppring befindet
sich im werkzeugbehälter unter der verkleidung im
kofferraum.
Montage des abschlepprings abb. 197A - 197b
Gehen sie wie folgt vor:
Den deckel a abnehmen;
Den abschleppring b aus seiner halter ...